
IT之家 3 月 14 日消息,汽车媒体 CarScoops 昨日(3 月 13 日)发布博文,挖掘美国商标和专利局(USPTO)公示的清单后,发现特斯拉获批“车辆座椅系统”专利,有望应用于第二代 Roadster 跑车上。
基于目前曝光的消息,第二代特斯拉 Roadster 预计于 2026 年 4 月 1 日在美国得州奥斯汀超级工厂首发,定位硬顶敞篷纯电旗舰超跑。该车采用三电机全轮驱动,0-100km/h 加速不到 2.1 秒,续航超 1000 公里。
传统座椅高度依赖数十个金属连接部件,这不仅增加了车身自重,还带来了潜在的机械故障风险。研发团队希望通过一体化设计打造出更轻便的座椅,同时有效降低日常使用中的磨损老化。
根据专利描述,新座椅颠覆了大多数跑车采用的多部件拼装方案,采用一体化框架设计,整合底座、靠背、头枕和侧面支撑等,变为一个单体复合结构。
材质方面,IT之家援引博文介绍,工程师在专利中明确提到了凯夫拉-尼龙和碳-尼龙复合材料,目的是剔除多余重量并大幅提升座椅强度。
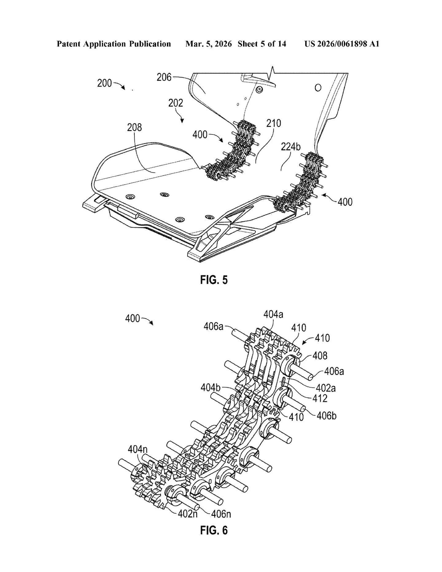
该专利还详细说明了座椅的创新动态调节方式。新系统彻底摒弃了用于倾斜座椅的传统金属齿轮,转而采用“一体式柔性铰链”。
这意味着材料本身可以在受力点发生形变,让框架在特定区域保持柔韧,而在其他区域维持刚性。这种设计让设计师能够进行精准调校,从而在车辆急加速或极速过弯时为驾驶员提供最稳固的支撑。
执行结构上,新系统去除了常规的电动机和金属滑轨,采用小型多轴执行器来控制座椅的各个方向移动。该系统具备六自由度,能够比大多数豪华车型更精准地微调座椅姿态。
盛达优配提示:文章来自网络,不代表本站观点。